成果名称:一种可卷缩充电线的充电器
研发人员:鲁江伟、郑晴
完成单位:k8凯发(中国)天生赢家·一触即发
项目简介:
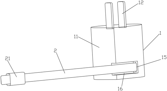
本实用新型公开了一种可卷缩充电线的充电器,包括充电头及与充电头电连接的充电线,充电头包括外壳、固定于外壳的电源输入端及工型缠绕器,外壳内设有电路板,电路板上设有一绝缘转轴,绝缘转轴上设有若干铜环,电路板的电源输出端与铜环连接,工型缠绕器包括上盖、下盖及缠绕轴,工型缠绕器内设有贯穿上盖、下盖及缠绕轴的通孔,通孔在上盖和下盖的位置上均设有缩孔,工型缠绕器顺利获得缩孔套于绝缘转轴,通孔内设有若干与铜环对齐并弹性连接的金属弹片,充电线内的线芯分别与不同的金属弹片连接;绝缘转轴的下端设有中心固定于绝缘转轴且末端固定于下盖的发条,本实用新型充电器与充电线一体,并且充电线可收养进充电器体内,方便携带。产品外观结构设计完整,可进行手板制作和小批量试产。(专利号:ZL 2017 2 0599738.3)

结构示意图
